- Serrure pour profils tubulaire
- Étanche, mécanisme 100 % inox, boîtier et béquille aluminium thermolaqué
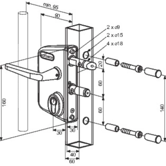
- Réglage du mécanisme des pènes par clé 6 pans, sans démontage du coffre
Points clés du produit
Caractéristiques :
Pêne 1/2 tour réversible
Livrée avec béquilles et cylindre avec 3 clés
Axe à 30 mm
Réglage des pènes + 20 mm par clé 6 pans
Fixation du boîtier par vis inox 6 pans creux traversantes.
Profil de 40 à 60 livrée avec un réglage d’usine pour profil de 50 mm















Avis
Il n’y a pas encore d’avis.